
iPhone uydu bağlantısı teknolojisini bir adım öteye taşımak isteyen Apple, sinyal gücünü artıran yeni bir kılıf üzerinde çalışıyor. Teknoloji devi, özellikle acil durumlarda hayat kurtaran bu özelliğin her koşulda daha verimli çalışmasını amaçlıyor.
Yeni iPhone Uydu Bağlantısı Kılıfı Neler Sunuyor?
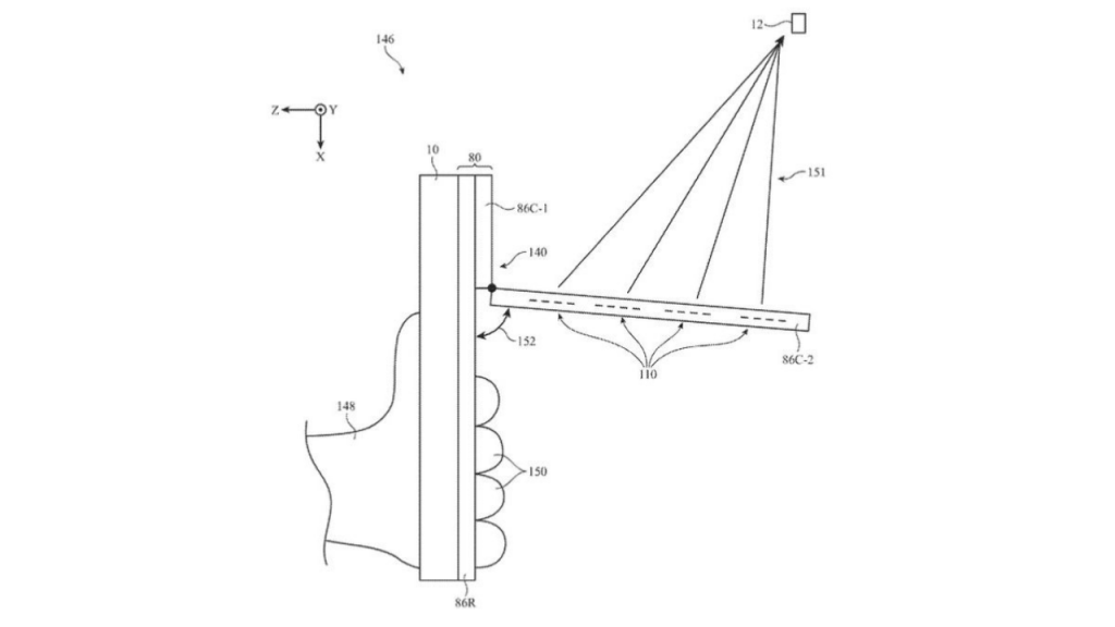
Apple tarafından alınan yeni bir patent, şirketin iPhone modelleri için harici bir bileşen geliştirdiğini ortaya koyuyor. Bu özel kılıf, telefonun dahili antenlerine ek destek sağlayarak uydu sinyallerini çok daha hızlı yakalıyor. Ayrıca cihazın zorlu hava koşullarında bile bağlantıda kalmasına yardımcı oluyor.
Gelişmiş Anten Yeknolojisi ve Sinyal Kalitesi
Patent dosyalarına göre bu kılıf, içerisinde özel manyetik bileşenler ve ek anten yapıları barındırıyor. Bu yapılar, iPhone’un gövdesindeki mevcut antenlerle eşzamanlı çalışarak sinyal kaybını en aza indiriyor. Böylece kullanıcılar, gökyüzünün tamamen açık olmadığı durumlarda dahi uydulara daha kolay erişebiliyor.

Güvenlik ve İletişimde Yeni Bir Dönem
Apple, bu aksesuar sayesinde sadece acil durum mesajlarını değil, gelecekte daha yüksek veri transferlerini de mümkün kılabilir. Mevcut sistem şu an için sadece sınırlı mesajlaşmaya izin verse de, bu tür donanım destekleri kapasiteyi artıracaktır. Kullanıcılar bu sayede doğa sporları veya ıssız bölgelerdeki seyahatlerinde kendilerini daha güvende hissedecekler.




















