
Apple, WWDC 2017 etkinliğinde tanıtıp 2018 yılının ilk çeyreğinde satışa sunduğu akıllı hoparlörünün yeni sürümüyle ilgili bir patent başvurusunda bulundu.
Aldığı patentler ile gelecekte tanıtacağı ürünler hakkında bilgi sahibi olunması sağlayan Apple, bir sonraki HomePod‘un içinde bulunacak bileşenlerin soğutulması konusunda bir patent başvurusunda bulundu.
Apple, yeni HomePod için bir patent başvurusunda bulundu
Apple’ın bu sistemle içinde soğutma sistemi bulunmayan ses sistemleri karşısında öne çıkması bekleniyor. Akıllı hoparlörde bulunan donanım sayısının miktarını göz önünde bulundurduğumuzda Apple’ın bu yöntemle ısı dağıtımı ve kullanım açısından yararlı olacağı düşünülüyor.

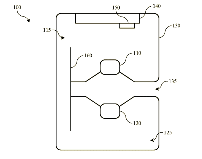
Apple’ın bu sene bir öncekine göre daha küçük boyutlu HomePod piyasaya süreceği iddia ediliyor. Patent başvurusunda bulunan soğutma soğutma teknolojisiyle kullanışlılık açısından dikkat çekeceği düşünülebilir. Patent, hoparlörlerin faz içi ve faz dışı hareketlerinin dahili hava akışı üretmek için nasıl kanalize edilebileceğine işaret ediyor. Bunun gerçekleşmesi için de hoparlörlerin ve hava kanallarının belirli bir şekilde düzenlenmesi gerekiyor. Apple ayrıca bir hoparlörden diğerine sinyal aktarımı için tasarlanmış bir işlemci de bulunabilir.
Patent ayrıca, iç ve ortam sıcaklığını ölçerek soğutmanın gerekip gerekmediğine karar veren bir sistemden bahsediliyor. Apple’ın bir sonraki HomePod’u hakkında gelişmeleri aktarmayı sürdüreceğiz.




















