
ABD Patent ve Ticari Marka Ofisi tarafından bu hafta yayınlanan yeni bir patent başvurusu, Apple’ın MacBook klavye teknolojisini geliştirme planlarını ortaya çıkardı. Şirket, mevcut klavye arka aydınlatma teknolojisini, gelecekteki klavyelerin bağlama bağlı olarak farklı semboller gösterebileceği şekilde geliştiriyor. Peki dinamik aydınlatmalı klavye nasıl olacak?
Dinamik aydınlatmalı MacBook klavyesi geliyor!
Şu anda, Apple’ın MacBook klavyeleri, yalnızca tuşları karanlık ortamlarda görünür kılmak için var olan arkadan aydınlatma teknolojisine sahip. Anahtarların kendileri önceden basılmış etiketlere sahip, değiştirilemezler ve uzun süreli kullanımda potansiyel olarak aşınmaya eğilimliler.
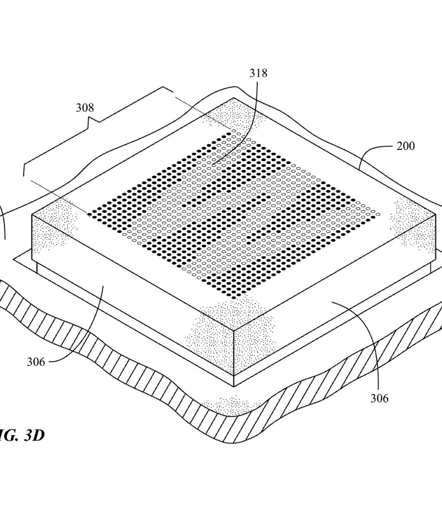
Patently Apple tarafından tespit edildiği üzere bu hafta yayınlanan patent, Apple’ın bu sorunları çözmek için yaptığı çalışmaları gözler önüne seriyor. Şirket, her tuşun üst ve alt katmanlarda deliklere sahip olduğu bir klavye tasarlıyor. Klavyenin altındaki arka aydınlatma, farklı sembolleri ve harfleri göstermek için her tuşu dinamik olarak aydınlatabilir.

Bununla birlikte, klavye etkinleştirildiğinde, tuş başlıklarının üst yüzeylerinin altından tuş başlıklarından yayılan ışık nedeniyle, tuş başlıklarının her biri için glifler tuşların üzerinde görünebilir. Glifler, her bir tuş başlığının üzerine veya altına yerleştirilmiş ayrı ışık kaynakları veya ekranlar nedeniyle havada süzülüyor gibi görünebilir. Böylece, ışığın tipik olarak bitişik tuş başlıkları arasında sızdığı veya tuş başlıkları arasında veya altında görülebildiği geleneksel klavyelerle karşılaştırıldığında, ışık kaynakları veya ekranlar tarafından çıkan tüm ışık, glifleri oluşturmak için tuş başlıklarının üst kısmından yönlendirilebilir.
Patent ayrıca, ışık kaynağının “mikro-LED veya OLED piksel kullanan bir ekran gibi bir LED dizisi” olduğu başka bir senaryo da düşünülüyor. Bu, ek kontroller, özelleştirme seçenekleri ve genel esneklik ile benzer bir fikrin daha gelişmiş bir uygulaması olacak.
Bazı uygulamalarda, ışık kaynakları veya ekranlar, mikro-LED veya OLED pikselleri kullanan bir ekran gibi bir dizi LED içerebilir. Tuş başlıklarındaki deliklerin sayısı ekranın piksellerine karşılık gelebilir, böylece örneğin ekranın her bir pikseli tek bir deliğe ışık sağlayabilir. Bu şekilde, ekranlar/ışık kaynakları, farklı şekiller, harfler, renkler, semboller, animasyonlar, diller ve diğer özellikler arasında değiştirilebilen veya ayarlanabilen glifler oluşturmak üzere kontrol edilebilir.

Apple, “Bu yapı kullanılarak, klavyenin tuş başlıkları, alüminyum da dahil olmak üzere metaller gibi, geleneksel klavyelerin tuş başlıklarında tipik olarak kullanılmayan malzemelerden yapılabilir. Buna göre, klavyenin tuş başlıkları, metal yüzeylere de sahip olabilen tuş başlıklarını çevreleyen klavyenin muhafaza yüzeylerinin görünümüyle eşleşen üst yüzeylere sahip olabilir.” açıklamasında bulunmuş.
Apple’ın yaptığı patent başvurusu ise şu şekilde:




















